Product Series
推薦產品
河南華東起重機械設備公司
服務熱線:400 086 9590
公司:河南華東起重機械設備有限公司
聯系人:賈經理
聯系電話:13903802779
地址:河南新鄉市封丘縣起重機工業園區
當前位置: 起重機 > 起重機文章
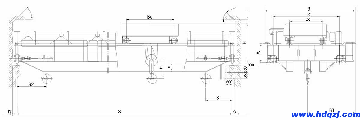
QB型5~32t防爆吊鉤橋式起重機
時間:2024-05-09來源:起重機廠家瀏覽次數:1
QB型5~32t防爆吊鉤橋式起重機
防爆吊鉤橋式起重機適用于具有易燃、易爆混合物的車間、倉庫等場所,做一般的運輸工作。
本起重機為中級工作制,由橋架、大車運行機構、小車和電氣設備四部分組成,所有電氣設備均具有防爆性能,機械部分也采用相應的防爆措施,以防止起重機在運行過程中可能產生的電火花而引起燃放或爆炸事故的發生。
QB型5~32t防爆吊鉤橋式起重機方案圖



下一篇:電動立柱式懸臂吊、電動懸臂吊
推薦文章:




















